智造家提示:你现在浏览的网站是镜像网站

请访问原网站:www.imefuture.com
23种弹簧夹头设计图集和解析- 智造家

智造家提示:你现在浏览的网站是镜像网站

请访问原网站:www.imefuture.com

智造家提示:你现在浏览的网站是镜像网站

请访问原网站:www.imefuture.com
您好,请登录  注册

23种弹簧夹头设计图集和解析

  1、向固定式弹簧夹头

  


  夹头体1以锥柄插入机床主轴锥孔中,简夹2轴向固定。旋紧螺母3,其内锥面迫使筒夹收缩将工件夹紧;反转螺母,简夹弹开,松开工件。

  螺母与筒夹之间有相对转动,其配合锥面易于磨损,适用于轻便及一般工件加工。

  限于筒夹的扩张量,工件基准面公差应不大于0.5毫米。螺钉4用以防止简夹转动。


  2、向移动式弹簧夹头

  


  旋紧螺母时,简夹作轴向移动便夹紧工件。支承钉用于工件轴向定位。

  由于简夹与工件间有相对轴向位移,故其夹头工作表面易于磨损,适用于—般工作。


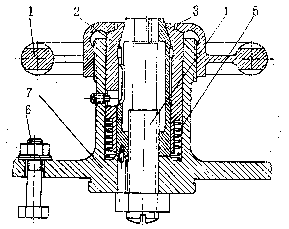
  3、间锥套式弹簧夹头

  


  中间锥套5置于夹头体1与筒夹2之间,并以销4作圆周固定。转动螺母3,通过螺母内端面(或销6),使锥套作轴向移动,从而使筒夹收缩(或张开)。


  4、槽锥套式弹簧夹头

  


  以纵向切槽的锥套2代替筒夹。旋紧螺母3时,其内锥面迫使锥套收缩夹紧工件。适用于一般工作。


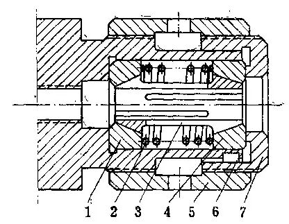
  5、端作用式弹簧夹头(1)

  


  筒夹两端均有卡爪。旋紧螺母5时,由于夹头体3及锥套7内锥面作用,使两端卡爪同时收缩夹紧工件。

  两个销6用防以防止锥套随螺母转动,弹簧2使筒夹4复位,支钉1用于工件轴向定位。适于夹持较长的工件。


  6、端作用式弹簧夹头(2)

  


  两端带锥面的筒夹3与相应的锥套1和4相配。当转动带左右螺纹的螺母5时,通过衬套7推动套4和简夹3左移,使简夹两端同时收缩夹紧工件;反转螺母5时,借弹簧作用松开工件。键6用以圆周固定衬套7。


  7、紧式弹簧夹头

  


  通过主轴孔的拉杆与筒夹尾部的螺纹孔连接。拉杆轴向移动(手动或机动)使简夹作径向收缩(或张开),以夹紧(或松开)工件。工件无轴向定位。


  8、利用插头扳手操纵的弹簧夹头

  


  简夹5以尾部螺纹旋入锥齿轮3的螺孔中,并以圆销4作圆周固定,利用环2将锥齿轮3轴向固定于夹头体1中。用插头扳手转动小锥齿轮6使筒夹作轴向移动,从而实现工件的夹紧〔或放松〕。


  9、手轮传动的弹簧夹头

  


  简夹7以尾邻螺纹旋入齿轮1螺孔中,并以键8作圆周固定。当转动手轮4时,与其相连的内齿轮5便传动齿轮3,通过齿轮2使齿轮1(即螺母)转动,筒夹便沿锥套6作轴向移动,以夹紧(或放松)工件。推力轴承9可使转动轻便灵活。


  10、利用手柄操作的弹簧夹头

  


  用于铣、钻床加工轴类零件。转动手柄1,经螺母2滚珠3使套简4下移,其内锥面迫使简夹6收缩,通过过渡套筒5将工件夹紧;

  反转手柄1经弹簧顶住8使套筒4上移,即可松开工件。过渡套用5可以更换以支持不同直径的工件,扩大其使用范围。


  11、利用手轮操作的弹簧夹头

  


  用于铣、钻床上加工轴类零件。使用时以凸台7安装于固定的夹具底座上,以螺栓6紧固。转动手轮1,使套筒2下移,其内锥面迫使简夹收缩而夹紧工件;

  反转手轮l,弹簧5将套简2上顶,使筒夹松开工件。可调定程杆4用于工件轴向定位。


  12、利用偏心操纵的弹簧夹头

  


  13、用螺旋杠杆操纵的弹簧夹头

  


  14、用碟形弹簧自动夹紧的弹簧夹头

  


  转动带六方头的螺母2时,便碰撞初杠杆3迫使螺杆4向上抬起,使筒夹1松开。反转螺母2向上移时,碟形弹簧5通过螺汗4迫使筒夹下移,夹紧工件。

  筒夹l具有内六角孔,使之便于更换,以适应不同直径的工件。


  15、 用尾顶尖顶紧的弹簧夹头

  


  工件在浮动滑柱的维孔中及尾顶针上定心。当尾顶针向前顶时,通过工件台阶端面推动筒夹左移,夹头体内锥面便迫使简夹收缩将工件夹紧;尾顶针退回,简夹便自动松开。


  16、阀用的弹簧夹头(1)

  


  工件以较长的杆部定位,并以一端插入简夹导向部分的定位孔中。锥套3用键5与夹头体1作圆周固定。旋转螺母3,通过插入锥套环行槽中的销子4使锥套作轴向移动,以使简夹夹紧或松开工件。


  17、夹气阀用的弹簧夹头(2)

  


  筒夹的铀向移动利用通过主轴孔的拉杆来操作。由于工件基准面很短,故同时用尾顶针联合定位。四个弹簧的作用是使简夹易于恢复到起始位置。


  18、不停车弹簧夹头(1)

  


  向前拉动手柄7,夹紧套5相对于夹紧座6(两者为双头方牙螺纹连接)向左移动。

  通过止推轴承4、垫圈3、螺母2和拉杆I,拉动筒夹8左移,将工件夹紧;手柄7向后推时,夹紧套右移,简夹便松开。


  19、不停车弹簧夹头(2)

  


  夹头体7以锥柄插入机床主轴锥孔中。与套因2固定在一起的支架9利用螺栓11、螺帽10及固定螺帽12紧固于床身导轨面的一定位置上。

  当顺时针转动手柄1(约90度)时,罩壳3相对于套圈左移,通过止推轴承4,滑套5和螺母6使简夹左移,卡紧工件;手柄反转时,简夹自动松开。


  20、 不停车弹簧夹头(3)

  


  夹头座2固定于机床主轴箱前端,心轴1装于主轴内。向后推动手柄6时.夹头体3经端盖12轴承11带动锁紧套13向左移动,同时使卡爪14收缩夹紧工件,结合于5与心轴1结合。

  此时动力由机床主轴经心轴、结合子、卡爪传给工件。

  向前拉动手柄,夹头体经轴承9推动锁紧套右移,由于弹簧8的作用。使锁紧套右移,卡爪在弹簧圈15作用下松开,同时端盖7推结合子右移与心轴脱开,工件停止转动,即可卸下。

  水管接头10和16,用以通入冷却水,以防轴承过热。


  21、不停车弹簧夹头(4)

  


  旋转止推套1,通过滚动轴承推动内锥套3向左移动,即可使筒夹4收缩将工件夹紧;反转止推套1,由螺纹挡圈2推动内锥套3右移,使夹头松开。


  22、不停车弹簧夹头(5)

  


  外沿套6和内沿套5用圾2与内维套14n这,并可沿轴苟挥动》蹬时针转动手柄13时.齿轮轴12传动齿条轴1I向左移动,卡环座10经卡环8推动外滑套6友强;

  草内锥面迫使圆周六个钢球7移动,带动内泪套左移,调整环4便推动箭央“3左移将工件夹紧;

  反转手柄,上述备件作相反运动,即松开工件。 弹簧9的作用是在夹头工作时,使卡环与外沿套的沟保持端而间隙,以减少磨损。用调按环4调整夹紧行程。


  23、气动不停车弹簧夹头

  


更多资讯,请关注智造家http://www.imefuture.com/——高效智造资讯门户!


相关文章:智造家APP——智造产业链和和工程师服务平台


     工程师必知的9种工装夹具的设计要点


     如何设计一个万能铣头?超级干货!


     图纸云发布新功能,给用户带来更多效率提升


更多资讯敬请关注智造家行业资讯频道

网友评论  0 条评论

智造家提示:你现在浏览的网站是镜像网站

请访问原网站:www.imefuture.com

智造家提示:你现在浏览的网站是镜像网站

请访问原网站:www.imefuture.com
智造家IMEfuture公众号

联系我们

电话:15889976284

时间:工作日 9:00 ~ 18:00

业务咨询:info@imefuture.com

APP